74 103 товаров в наличии и на заказ

Электронные компоненты и расходные материалы

$
Настройка отображения валюты
Полный каталог
Скидка на Конденсаторы
-20%

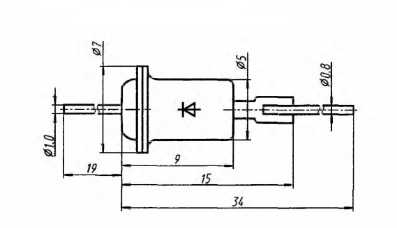
2С168А Стабилитрон металл, СМ3.362.805ТУ (арт. TB-9666)

Стабилитроны 2С168А кремниевые, диффузионно-сплавные p-n типа. Предназначены для стабилизации номинального напряжения 6,8 В в диапазоне токов стабилизации 3...45 мА. Используются для работы в электронной аппаратуре специального назначения. Расшифровка маркировки 2С168А: 2 - кремниевый стабилитрон категории качества «ВП»; С - стабилизаторы напряжения (стабилитроны, стабисторы); 1 - стабилитроны мощностью не более 0,3 Вт и номинальным напряжением стабилизации менее 10 В; 68 - цифра, указывающая на номинальное напряжение стабилизации - 6,8 В; А - буквы от А до Я определяют последовательность разработки стабилитрона. Вся дополнительная информация находится во вложении на товар, см. pdf – файл

Подробнее
Заметили
ошибку ?
Сообщите нам

Общая информация

Наименование 2С168А Стабилитрон металл, СМ3.362.805ТУ
Торговая марка ПО Тантал, Саратов
Страна происхождения СССР
ТУ СМ3.362.805ТУ
Вид приемки i "5"- ВП, ПЗ
Масса изделия, гр 0,3
Дата выпуска 1978
Наличие паспорта - этикетки нет
Транслитерация 2C168A Zener diode metal, CM3.362.805TU
Состояние упаковки самоупаковка

Основные параметры

Функциональный тип стабилитрон
Фактическая маркировка 2С168А
Типоразмер корпуса отечественный КД-8
Тип вывода гибкий
Материал корпуса металл
Метод монтажа на плату
Рабочее положение любое
Габаритные размеры L*W*H 52х7х7 mm
Материал выводов, контактов латунь
Покрытие выводов или контактов лужение
Покрытие корпуса без покрытия

Технические характеристики

Макс. мощность рассеивания 0,3 W
Минимальное напряжение стабилизации 6,12 V
Номинальное напряжение стабилизации 6,8 V
Максимальное напряжение стабилизации 7,48 V
Статическое сопротивление 28 Ω
Температурный коэффициент напряжения стабилизации, аUст. ±0,06 %/°C
Минимальный ток стабилизации 3 mA
Максимально допустимый ток стабилизации 45 mA
Напряжение стабилизации, от ... до 6,12...7,48 V

Условия эксплуатации

Минимальная наработка 80000 час.
Интервал рабочих температур от -60 до +125°C
Климатическое исполнениеi УХЛ
Загрузка...
Принимаем заказы на товары,
не вошедшие в каталог

Пришлите маркировку необходимого вам товара.
Мы предоставим Вам наилучшие условия по поставке!

Оформить заявку

Недавно просмотренные товары

Принимаем к оплате
IP Electron в соцсетях