74 478 товаров в наличии и на заказ

Электронные компоненты и расходные материалы

$
Настройка отображения валюты
Полный каталог
Скидка на Конденсаторы
-20%

КВ132А Варикап (арт. SN-3180)

Варикап КВ109А кремниевый эпитаксиально-планарные, подстроечные. Предназначены для применения в схемах подстройки частоты резонансных усилителей. Выпускается в пластмассовом корпусе с гибкими выводами. Маркируются белой точкой со стороны анода. Номинальная емкость 2,45пФ при обратном напряжении 25В. Коэффициент перекрытия по емкости варикапа 4,0...5,5 (при изменении напряжения от 3В до 25В).

Подробнее
Заметили
ошибку ?
Сообщите нам

Общая информация

Наименование КВ132А Варикап
Торговая марка ПО ДНЕПР, Херсон
Страна происхождения СССР
Вид приемки i "1"- ОТК
Масса изделия, гр 0,069
Дата выпуска дата не указана
Транслитерация KV132A
Доупаковка запаянные в полиэтилен
Состояние упаковки самоупаковка

Основные параметры

Фактическая маркировка белая метка
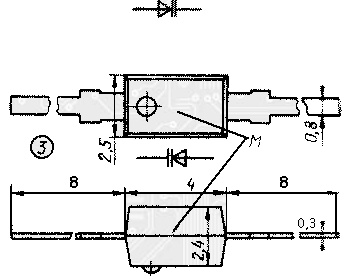
Типоразмер корпуса отечественный КД17
Тип вывода гибкий
Материал корпуса пластмасса
Метод монтажа THT (выводной)
Рабочее положение любое
Габаритные размеры L*W*H 4х3х20
Высота корпуса 4 mm

Технические характеристики

Макс. обратный ток 0,05 µA
Макс. постоянное обратное напряжение 12 V
Номинальная емкость 33 pF при Uобр = 2 V
Добротность 300 при f = 50мГц

Условия эксплуатации

Интервал рабочих температур от -60 до +100°С
Загрузка...
Принимаем заказы на товары,
не вошедшие в каталог

Пришлите маркировку необходимого вам товара.
Мы предоставим Вам наилучшие условия по поставке!

Оформить заявку

Недавно просмотренные товары

Принимаем к оплате
IP Electron в соцсетях