67 076 товаров в наличии и на заказ

Электронные компоненты и расходные материалы

$
Настройка отображения валюты
Полный каталог
Скидка на Устройства защиты
-20%

КТ818ВМ Транзистор, аА0.336.188ТУ (арт. KT-3569)

Транзистор КТ818ВМ биполярный, кремниевый, меза-эпитаксиально-планарный, структуры n-p-n переключательный. Предназначен для применения в усилителях и переключающих устройствах. КТ818ВМ К - буква, обозначает исходный материал, из которого изготовлен транзистор и его категорию качества,  кремниевый транзистор категории качества «ОТК»; Т - буква, определяющая класс или подгруппу полупроводниковых приборов- биполярный транзистор; 8 - буква, обозначающая функциональное назначение- транзистор большой мощности - с максимальной рассеиваемой мощностью более 1,5 Вт и граничной частотой коэффициента передачи тока или максимальной рабочей частотой от 3 до 300 МГц; 18 - число, указывающее на порядковый номер разработки транзистора; В - буква, определяющая классификацию транзисторов по параметрам, изготовленных по единому технологическому процессу; М - буква, указывается при модернизации приборов, приводящую к изменению его конструкции  или электрических параметров. Вся дополнительная информация находится во вложении на то

Подробнее
Заметили
ошибку ?
Сообщите нам

Общая информация

Наименование КТ818ВМ Транзистор, аА0.336.188ТУ
Торговая марка ЗАО Группа-Кремний, Брянск
Страна происхождения СССР
Вид приемки i "1"- ОТК
Масса изделия, гр 18,06
Дата выпуска 1986
Наличие паспорта - этикетки нет
Транслитерация KT818VM Transistor, aA0.336.188 TU
Состояние упаковки самоупаковка

Основные параметры

Функциональный тип биполярный
Типоразмер корпуса КТ-9
Фактическая маркировка КТ818ВМ
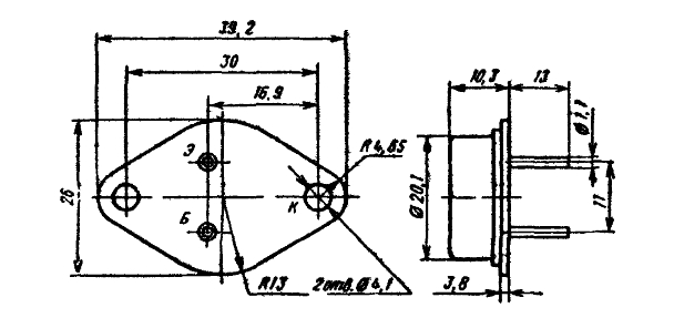
Габаритные размеры L*W*H 38,2х26х23
Высота корпуса 10,3 mm
Тип вывода жесткий
Длина выводов 13 mm
Материал корпуса металл со стеклянными изоляторами
Метод монтажа ТНТ (выводной)

Технические характеристики

Макс. обратный ток 1 mA
Макс. мощность рассеивания 100 W
Макс. допустимое напряжение эммитер-база Uэб 5 V
Макс. допустимое напряжение коллектор-база Uкб 70 V
Макс. допустимое напряжение коллектор-эмиттер Uкэ 50 V
Макс. допустимый постоянный ток коллектора 15 A
Статический коэффициент передачи тока не менее 15
Структура p-n-p

Условия эксплуатации

Интервал рабочих температур от -40 до +100 °С
Климатическое исполнениеi УХЛ2
Загрузка...
Принимаем заказы на товары,
не вошедшие в каталог

Пришлите маркировку необходимого вам товара.
Мы предоставим Вам наилучшие условия по поставке!

Оформить заявку

Похожие товары

Недавно просмотренные товары

Принимаем к оплате
IP Electron в соцсетях