73 975 товаров в наличии и на заказ

Электронные компоненты и расходные материалы

$
Настройка отображения валюты
Полный каталог
Скидка на Конденсаторы
-20%

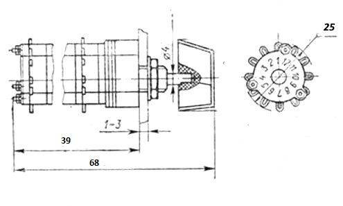
ПГ39Ш-48В 3 положения 12 направлений 0,5A(Ампер) 127V(Вольт) вал ВС-3 (сплошной с прямой лыской) Переключатель галетный, АГ0.360.033ТУ (арт. OP-1604)

ОАО «Микроом» Лермонтов; 3 платы (галеты); пластмасса; К (клювик) поставляется отдельно; " 1" - ОТК; галетник, поворотный переключатель, многопозиционный переключатель, кулачковый переключатель…; ПГК…, ПГГ…, KTZ…

ПГ39Ш-48В переключатель галетный малогабаритный поворотный для объёмного монтажа. Предназначен для коммутации электрических цепей переменного и постоянного тока. Используется для работы в различных видах электро- и радиоаппаратуры специального назначения. Расшифровка: ПГ - переключатель галетный, 39 - порядковый номер разработки, 48 - условный номер типоконструкции переключателя (со сплошной осью), В - всеклиматическое исполнение. У переключателя 3 платы, 3 положения, 12 направлений. Вся дополнительная информация находится во вложении на товар, см. pdf – файл.

Подробнее
Заметили
ошибку ?
Сообщите нам

Общая информация

Наименование ПГ39Ш-48В 3 положения 12 направлений 0,5A(Ампер) 127V(Вольт) вал ВС-3 (сплошной с прямой лыской) Переключатель галетный, АГ0.360.033ТУ
Торговая марка ОАО «Микроом» Лермонтов
Страна изготовления РОССИЯ
Дата изготовленияi 1992-1999
Нормы и требования АГ0.360.033ТУ
Вид приемки i "1"- ОТК
Масса изделия, гр 24,3
Наличие паспорта - этикетки нет
Транслитерация PG39SH-48V 3 positions 12 directions 0.5A(Ampere) 127V(Volt) shaft VS-3 (solid with straight line) Galetny switch, AGO.360.006TU
Состояние упаковки самоупаковка

Основные параметры

Функциональная группа Переключатели
Функциональный тип Переключатель галетный
Серия переключателя ПГ39
Конструкция переключателя закрытого типа (в корпусе)
Количество направлений 12 направлений
Количество положений 3 положения
Расстояние между платами межплатное расстояние 5 mm
Количество плат (галет) 3 платы (галеты)
Материал галет (плат) пластмасса
Угол поворота, градусы 30
Тип валаi сплошной с прямой лыской (ВС-3)
Форма вала круглая
Диаметр вала (выступающей части) 4 mm
Длина вала (длина выступающей части) 17 mm
Количество выводов 48
Шаг выводов 5 mm
Вид выводов под пайку
Материал выводов латунь
Покрытие выводов (Ag) серебро
Габаритные размеры L*W*H 25х25х54,4 mm
Длина корпуса 48 mm
Ширина корпуса 25 mm
Высота корпуса 25 mm
Материал корпуса пластмасса
Цвет корпуса желтый
Метод монтажа механический на панель (М10х0,75 L=10 mm)
Метод монтажа электрический пайка
Установочные размеры крепежное отверстие d = 8,2 mm
Диаметр установочного отверстия 8,2 mm
Толщина панели 3 mm
Тип ручки К (клювик) поставляется отдельно
Дополнительные характеристики широкий контакт (буква "Ш" в маркировке)
Фактическая маркировка ПГ39Ш48В
Аналогичные серии ПГК…, ПГГ…, KTZ…
Другие наименования галетник, поворотный переключатель, многопозиционный переключатель, кулачковый переключатель…

Технические характеристики

Коммутируемое напряжение 127 V
Коммутируемый ток 0,5 А
Максимальная коммутир.мощность 10 W
Усилие или момент переключения 0,0375 – 0,375 N·m
Сопротивление контактов не более 50 mΩ
Сопротивление изоляции 1000 MΩ
Электрическая прочность изоляции 1000 VAC 1min
Электрическая схема контактов галетных переключателей 3 положения 12 направлений
Вид нагрузки активная
Режим работы (род тока) постоянный, переменный

Условия эксплуатации

Климатическое исполнениеi В - всеклиматическое исполнение
Интервал рабочих температур от -60 до +85°C
Ресурс 30000 переключений
Минимальная наработка 10 000 час.
Относительная влажность 98% при температуре +35°С
Атмосферное давление 0,66 -106,6 kPa
Минимальный срок сохраняемости, лет 15 лет

Функциональные аналоги

ПГ39Ш-348В, фото
ПГ39Ш-348В

Возможные аналоги

ПГ39-48В, фото
ПГ39-48В
ПГ39-348В, фото
ПГ39-348В
ПГ39-44В, фото
ПГ39-44В
ПГ39-344В, фото
ПГ39-344В

Оставить отзыв

Оценка:
              
Преимущества *
Недостатки *
Комментарий *
Ваше Имя *
Эл. почта *
Введите текст с картинки:
* Поля для обязательного заполнения
Отзыв будет опубликован после проверки модератором
Принимаем заказы на товары,
не вошедшие в каталог

Пришлите маркировку необходимого вам товара.
Мы предоставим Вам наилучшие условия по поставке!

Оформить заявку

Похожие товары

Артикул (ID): OP-1493
ПГ39Ш-46В 3 положения 4 направления 0,5A(Ампер) 127V(Вольт) вал ВС-3 (сплошной с прямой лыской) Переключатель галетный, АГ0.360.033ТУ.
  • 1166 1 шт.
  • 1148 от 5 шт.
Артикул (ID): TN-2349
НЛП 4.252.087 Ручка приборная D32мм, отв. 4мм, без лыски
  • 72 1 шт.
  • 54 от 5 шт.
Артикул (ID): SN-9056
Ручка - клювик для ПГ2, отв.4мм, длина 23мм.
Артикул (ID): BV-5788
П2Г3-6П4Н 6 положений 4 направления 2A(Ампер) 220V(Вольт) вал ОС-6 (гладкий с конической лыской с резьбой) Переключатель галетный, ЦЭ0.360.016 ТУ 2021
Артикул (ID): BV-5793
П2Г3-5П6Н 5 положений 6 направлений 2A(Ампер) 220V(Вольт) вал ОС-6 (гладкий с конической лыской с резьбой) Переключатель галетный, ЦЭ0.360.016 ТУ.2021
Артикул (ID): BV-5800
П2Г3-4П3Н 4 положения 3 направления 2A(Ампер) 220V(Вольт) вал ОС-6 (гладкий с конической лыской с резьбой) Переключатель галетный, ЦЭ0.360.016 ТУ
  • 925 1 шт.
Артикул (ID): KK-16391
МПН-1|||2018|Иркутск|с ручк., в п/эт
  • 612 1 шт.
Артикул (ID): KK-16396
ПГК 5П2Н-А|||1992|Зубова Поляна|з/уп
  • 204 1 шт.
Артикул (ID): BV-6365
Уценка ПГК-11П1Н-А 11 положений 1 направление 3A(Ампер) 350V(Вольт) вал ВС-3 (сплошной с прямой лыской) Переключатель галетный, АГ0.360.204ТУ.
  • 315.2 1 шт.
Артикул (ID): ZN-9541
RCL371-1-4-3-16F 3 положения 4 направления 0,3A(Ампер) 30V(Вольт) вал 16mm (F - гладкий сплошной с прямой лыской) Переключатель галетный.
  • 322.02 1 шт.
  • 322.02 от 10 шт.
  • 322.02 от 100 шт.
Артикул (ID): BV-9290
RCL371-4-8-6-16F 6 положений 8 направлений 0,5A(Ампер) 30V(Вольт) вал 16mm (F - гладкий сплошной с прямой лыской) Переключатель галетный..
  • 614.7 1 шт.
Артикул (ID): BV-9450
П2Г3-3П16Н 3 положения 16 направлений 2A(Ампер) 220V(Вольт) вал ОС-6 (гладкий с конической лыской с резьбой) Переключатель галетный, ЦЭ0.360.016 ТУ.
  • 3440 1 шт.
Артикул (ID): CC-12225
Переключатель галетный ПГ3 5П4Н
  • 628.35 1 шт.

Недавно просмотренные товары

Принимаем к оплате
IP Electron в соцсетях