74 574 товаров в наличии и на заказ

Электронные компоненты и расходные материалы

$
Настройка отображения валюты
Полный каталог
Скидка на Конденсаторы
-20%

АОТ128Б DIP6 Оптопара транзисторная (арт. TN-4409)

Оптопара транзисторная АОТ128Б - состоит из кристаллов инфракрасного AsGaAl светодиода и кремниевогоn-p-n фототранзистора. Кристаллы расположены в одной плоскости, оптически связаны полусферическим световодом.Такая конструкция обеспечивает отсутствие полевых утечек при длительном приложенииUиз. Внутренние межсоединения выполнены золотой проволокой.

Подробнее
Заметили
ошибку ?
Сообщите нам

Общая информация

Наименование АОТ128Б DIP6 Оптопара транзисторная
Торговая марка "Протон", г.Орел
Страна происхождения РОССИЯ
ТУ аА0.336.468 ТУ/02
Вид приемки i "1"- ОТК
Масса изделия, гр 0,45
Дата выпуска 2005
Транслитерация Optocoupler transistor AOT128B
Состояние упаковки самоупаковка

Основные параметры

Функциональная группа Оптрон
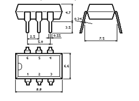
Типоразмер корпуса DIP6
Габаритные размеры L*W*H 10х10х8 mm
Высота корпуса 4 mm
Количество выводов или контактов 6
Цвет изделия черный

Технические характеристики

Сопротивление изоляции 1011 Ω
Входное напряжение 1,6 V
Напряжение изоляции не менее 1500 V
Ток утечки, max на выходе не более 10 μкА

Условия эксплуатация

Интервал рабочих температур от -45 до +85°C
Загрузка...
Принимаем заказы на товары,
не вошедшие в каталог

Пришлите маркировку необходимого вам товара.
Мы предоставим Вам наилучшие условия по поставке!

Оформить заявку

Недавно просмотренные товары

Принимаем к оплате
IP Electron в соцсетях