73 894 товаров в наличии и на заказ

Электронные компоненты и расходные материалы

$
Настройка отображения валюты
Полный каталог
Скидка на Конденсаторы
-20%

РП14-16Л-В Вилка с ловителем, карболит (вар.1) (арт. SK-6613)

ПО " Эльбрус" , Изобильный; ЕСЗ.656.015ТУ; 800 V; 5 A; " 5" - ВП, ПЗ; нет кожуха; -

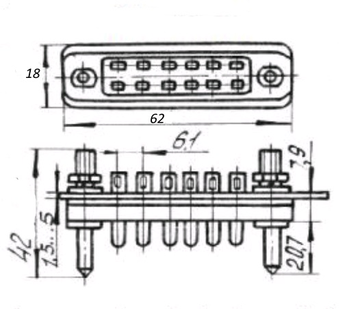
РП14-16ЛВ Вилка - электрический низкочастотный прямоугольный соединитель. Структура условного обозначения: РП - тип соединителя: ручного сочленения (расчленения; 14 - порядковый номер разработки; 16 - количество контактов; Л - наличие ловителя (направляющих штырей); покрытие контактов серебром (отсутствие цифры); отсутствие буквы В - климатическое исполнение УХЛ. Соединитель предназначен для работы в цепях постоянного, переменного (с частотой до 3 МГц) и импульсного токов. Соединители РП14 предназначены для внутреннего монтажа. Контакты вилок и розеток плавающие. Подсоединение проводов к хвостовикам контактов методом пайки. Вся дополнительная информация находится во вложении на товар, см. pdf – файл.

Подробнее
Заметили
ошибку ?
Сообщите нам

Общая информация

Наименование РП14-16Л-В Вилка с ловителем, карболит (вар.1)
Код ТНВЭД 8536508008
Торговая марка ПО "Эльбрус", Изобильный
Страна изготовления СССР
Нормы и требования ЕСЗ.656.015ТУ
Дата изготовленияi 1976-1991
Вид приемки i "5"- ВП, ПЗ
Масса изделия, гр 29,42
Вид упаковки полиэт. пакет (1шт)
Состояние упаковки самоупаковка
Транслитерация RP14-16L-V Fork with catcher, carbolite (version 1)
Наличие паспорта - этикетки нет

Основные параметры

Функциональная группа соединители
Функциональный тип прямоугольные низкочастотные
Серия прямоугольных соединителей РП14
Типономинал / Типоконструкция вилка
Фактическая маркировка РП14-16Л-В
Количество контактов 16
Вид контактов ножевые
Размер контактов 3,5х0,6 mm
Материал контактов латунь
Покрытие контактов Ag (серебро)
Шаг между рядами контактов 7 mm
Шаг контактов в ряду 6,1 mm
Количество рядов контактов 2
Наличие замка для фиксации нет замка
Наличие ловителей направляющий штырь
Наличие кожуха нет кожуха
Вид изолятора вариант I
Материал изолятора карболит
Цвет изолятора коричневый
Длина изолятора 71 mm
Ширина изолятора 18 mm
Высота изолятора 7,9 mm
Габаритные размеры L*W*H 71хх23х42 mm
Метод монтажа механический объемный монтаж; на панель
Метод монтажа электрический пайка
Установочные размеры 62 mm расстояние между монтажными отверстиями
Диаметр установочного отверстия 4,2 mm
Метод сочленения врубной
Рабочее положение любое

Технические характеристики

Рабочее напряжение, max 800 V
Рабочий ток, max 5 A
Сопротивление контактов не более 30 mΩ
Сопротивление изоляции 5000 MΩ
- диапазон частот 1-3000 Hz
- амплитуда ускорения 40 g
Электрическая прочность изоляции 2550 V

Условия эксплуатации

Интервал рабочих температур от -60 до +100°С
Атмосферное давление от 1х 10⁻¹² Pa до 50,6 10⁴ Pa
Климатическое исполнениеi В - всеклиматическое исполнение
Относительная влажность 98% при температуре +35°С
Ресурс 3000 сочленений-расчленений
Минимальная наработка 10 000 час.
Макс. срок хранения 15 лет

Функциональные аналоги

Возможные аналоги

РП14-17ЛО Вилка Электродеталь, фото
РП14-17ЛО Вилка Электродеталь
РП14-17ЛО-В Вилка Электродеталь, фото
РП14-17ЛО-В Вилка Электродеталь

Оставить отзыв

Оценка:
              
Преимущества *
Недостатки *
Комментарий *
Ваше Имя *
Эл. почта *
Введите текст с картинки:
* Поля для обязательного заполнения
Отзыв будет опубликован после проверки модератором
Принимаем заказы на товары,
не вошедшие в каталог

Пришлите маркировку необходимого вам товара.
Мы предоставим Вам наилучшие условия по поставке!

Оформить заявку

Похожие товары

Артикул (ID): TN-606
РП14-16Л-В Розетка с ловителем, карболит (вар.2)
  • 135 1 шт.
Артикул (ID): TN-608
РП14-16 Розетка, карболит (вар.1)
Артикул (ID): KK-12325
РП 14-30 ЛВ розетка|карб.|5|2013|Электродеталь|щелевые
  • 459 1 шт.
Артикул (ID): TB-9674
РП14-5 ОС Розетка, карболит (вар.1), НЩ0.364.005ТУ
Артикул (ID): TB-9700
Уценка РП14-30 Розетка, карболит, (вар.1), бРО.364.024ТУ
  • 113 1 шт.
Артикул (ID): KK-13315
РП 14А-30 Г3|карб.||1991|Электродеталь|с кож.
  • 1190 1 шт.
Артикул (ID): KK-14742
РП 14А-21 Ш (без кожуха)|карб.||||б/г
  • 119 1 шт.
Артикул (ID): KK-15513
РП 14А-21 Г3-В|карб.||2012|Электродеталь|щелевые,с кож.
  • 748 1 шт.
Артикул (ID): KK-15515
РП 14-30 ЛВ вилка|карб.|5|1991|Электродеталь|щелевые
  • 204 1 шт.
Артикул (ID): KK-15516
РП 14-30 Л розетка|карб.|5|2000|Электродеталь|щелевые
  • 238 1 шт.
Артикул (ID): KK-15518
РП 14-30 Л розетка|карб.|5|2007|Электродеталь|щелев.
  • 238 1 шт.
Артикул (ID): KK-15519
РП 14-30 ЛВ розетка|карб.|5|2008|Электродеталь|щелев.
  • 238 1 шт.
Артикул (ID): KK-15520
РП 14-30 ЛВ розетка|карб.|5|2009|Электродеталь|щелевые
  • 238 1 шт.
Артикул (ID): KK-15517
РП 14-30 Л розетка|карб.|5|2005|Электродеталь|щелев.
  • 238 1 шт.
Артикул (ID): KK-15949
РП 14-30 Л розетка|карб.|5|1986|Электродеталь|щелевые
  • 153 1 шт.

Недавно просмотренные товары

Принимаем к оплате
IP Electron в соцсетях