74 574 товаров в наличии и на заказ

Электронные компоненты и расходные материалы

$
Настройка отображения валюты
Полный каталог
Скидка на Конденсаторы
-20%

ДПБ Держатель вставки плавкой (предохранителя) 4х15mm, на панель, 2004г (арт. KT-1309)

ОАО «Сейм» Путивль; 5 A; 250 V; на панель, крепление корпуса винтовое; закрытого типа

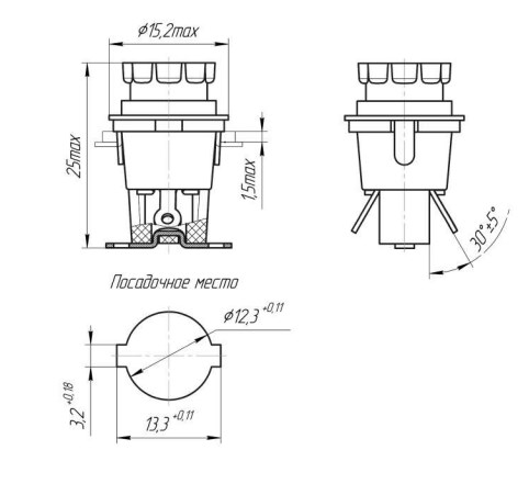
Держатель предохранителя ДПБ предназначен для установки в нём вставки плавкой 4х15mm с целью защиты оборудования от токов перегрузки и короткого замыкания. Используется для работы в электрических сетях постоянного и переменного тока напряжением до 250В и током до 5А. Структура условного обозначения: ДП - держатель предохранителя. Б – Блочный. Применяется для работы в радиоэлектронном аппаратуре и электрических распределительных устройствах специального и общепромышленного назначения. Вся дополнительная информация находится во вложении на товар, см. pdf-файл

Подробнее
Заметили
ошибку ?
Сообщите нам

Общая информация

Наименование ДПБ Держатель вставки плавкой (предохранителя) 4х15mm, на панель, 2004г
Торговая марка ОАО «Сейм» Путивль
Страна изготовления УКРАИНА
Дата изготовленияi 2000-2009
Нормы и требования КДПА.646116.001ТУ
Вид приемки i "1"- ОТК
Масса изделия, гр 4,69
Наличие паспорта - этикетки нет
Транслитерация DPB Holder for fuse insert 4x15mm, for panel
Состояние упаковки самоупаковка

Основные характеристики

Функциональная группа Установочные изделия
Функциональный тип держатель вставки плавкой
Вид держателя предохранителя закрытого типа
Серия держателя предохранителя ДПБ
Серия устанавливаемых вставок плавких ВП1-1
Размер устанавливамых вставок плавких 4х15 mm
Метод монтажа механический на панель, крепление корпуса винтовое
Метод монтажа электрический пайка
Установочные размеры Ø 12,2 mm
Материал корпуса карболит
Цвет корпуса коричневый
Материал контактов латунь
Покрытие контактов Ag (серебро)
Толщина панели 1,5 mm
Фиксация крышки предохранителя байонетная
Материал гайки металл
Габаритные размеры L*W*H 25x16 mm
Аналогичные серии ДВП4-1, МДП1-1, ДПВ, ДПВ4-1,…
Другие наименования держатель, держатель предохранителя…
Фактическая маркировка ДПБ

Технические характеристики

Номинальный ток 5 A
Номинальное напряжение 250 V
Сопротивление изоляции 1000 MΩ
Сопротивление контактов не более 10 mΩ
Электрическая прочность изоляции 1500 V
Частота тока 50 - 2000 Hz

Условия эксплуатации

Интервал рабочих температур от -85 до +100°C
Ресурс 300 циклов
Климатическое исполнениеi УХЛ
Минимальная наработка 10 000 час.
Относительная влажность 98% при температуре +35°С
Минимальный срок сохраняемости, лет 20
Загрузка...
Принимаем заказы на товары,
не вошедшие в каталог

Пришлите маркировку необходимого вам товара.
Мы предоставим Вам наилучшие условия по поставке!

Оформить заявку

Похожие товары

Артикул (ID): SN-2837
ДПБ Держатель вставки плавкой (предохранителя) 4х15mm, на панель, "1"
  • 216 1 шт.
Артикул (ID): SN-2838
ДПБ Держатель вставки плавкой (предохранителя) 4х15mm, на панель, "5"
  • 216 1 шт.
Артикул (ID): TM-1508
ДПБ Держатель вставки плавкой (предохранителя) 4х15mm, на панель, 2018г
  • 225 1 шт.
Артикул (ID): BV-5979
ДВП8В Держатель вставки плавкой (предохранителя) 8х50mm, на панель, аминопласт, КДПА.646116.003ТУ
  • 850 1 шт.
Артикул (ID): BV-6010
ДВП8 Держатель вставки плавкой (предохранителя) 8х50mm, на панель, аминопласт, КДПА.646116.002ТУ
  • 630 1 шт.
Артикул (ID): BV-6358
Уценка ДВП8 Держатель вставки плавкой (предохранителя) 8х50mm, на панель, аминопласт, КДПА.646116.002ТУ
  • 630 1 шт.
Артикул (ID): BV-6359
Уценка ДВП8 Держатель вставки плавкой (предохранителя) 8х50mm, на панель, аминопласт, КДПА.646116.002ТУ.
  • 630 1 шт.
Артикул (ID): BV-6360
Уценка ДВП8 Держатель вставки плавкой (предохранителя) 8х50mm, на панель, аминопласт, КДПА.646116.002ТУ..
  • 630 1 шт.
Артикул (ID): KK-16403
ДПК1-1|карб.||1983|Сейм|мет.гайка
Артикул (ID): KK-16404
ДПК1-1|карб.|5|1986|Сейм|мет.гайка
  • 306 1 шт.
Артикул (ID): KK-16405
ДПК1-1|карб.|5|1990|Сейм|мет.гайка
  • 374 1 шт.
Артикул (ID): KK-16406
ДПК1-1|карб.||1991|Сейм|мет.гайка
  • 340 1 шт.
Артикул (ID): KK-16407
ДПК1-1|карб.||1992|Сейм|мет.гайка
  • 340 1 шт.
Артикул (ID): KK-16775
ДВП4-2В|карб.|5|2016|Сейм|з/уп
  • 425 1 шт.
Артикул (ID): CC-12514
Держатель предохранителей S1038-5
  • 63.63 1 шт.

Недавно просмотренные товары

Принимаем к оплате
IP Electron в соцсетях