74 044 товаров в наличии и на заказ

Электронные компоненты и расходные материалы

$
Настройка отображения валюты
Полный каталог
Скидка на Конденсаторы
-20%

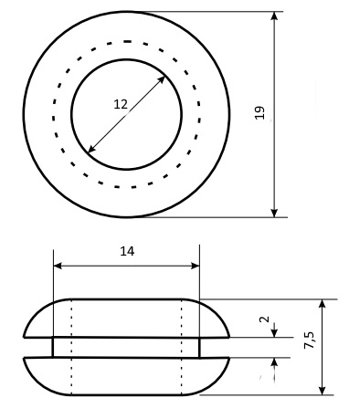
Втулка 12х19х14х7,5х2 проходная черная, резина EPDM, Ruichi. (арт. TM-2132)

Втулка 12х19х14х7,5х2 резиновая проходная черная, Ruichi. Структура условного обозначения: 12 – внутренний диаметр, мм; 19 – наружный диаметр, мм; 14 – диаметр до кромки металла, мм, 7,5 – максимальная высота втулки, мм; 2 – высота паза (максимальная толщина металла). Кабельная втулка изготовлена из резины EPDM. Втулки изоляционные проходные используются для защиты проводов/кабелей, например, для герметичного и взрывобезопасного ввода электрических кабелей напрямую в щит управления. Гильза с кабелем внутри заливается специальным раствором для герметизации узла. Вся дополнительная информация находится во вложении на товар, см. pdf – файл.

Подробнее
Заметили
ошибку ?
Сообщите нам

Общая информация

Наименование Втулка 12х19х14х7,5х2 проходная черная, резина EPDM, Ruichi.
Торговая марка RUICHI
Страна изготовления КИТАЙ
Масса изделия, гр 0,84
Дата изготовленияi не указана
Наличие паспорта - этикетки нет
Состояние упаковки самоупаковка

Основные параметры

Функциональная группа Установочные изделия
Функциональный тип втулка проходная
Размер установочного отверстия 14х2 mm
Диаметр входящего кабеля 12 mm
Внутренний диаметр 12 mm
Наружный диаметр 19 mm
Высота втулки 7,5 mm
Диаметр до кромки металла (глубина посадки) 14 mm
Высота паза (толщина металла) 2 mm
Глубина посадки (расстояние до кромки) 2,5 mm
Материал корпуса резина EPDM
Метод монтажа механический на блок
Цвет изделия черный
Фактическая маркировка отсутствует
Габаритные размеры L*W*H 19х7.5 mm

Условия эксплуатации

Интервал рабочих температур от -20 до +120°C
Загрузка...
Принимаем заказы на товары,
не вошедшие в каталог

Пришлите маркировку необходимого вам товара.
Мы предоставим Вам наилучшие условия по поставке!

Оформить заявку

Похожие товары

Артикул (ID): ZR-878
Втулка 14х22х16х4,5х2 проходная черная, резина EPDM, Ruichi .
  • 1.47 1 шт.
  • 1.47 от 10 шт.
  • 1.47 от 100 шт.
Артикул (ID): CC-08405
Втулка IB-7
  • 1.94 1 шт.
Артикул (ID): CC-08404
Втулка 2-5332070-9
  • 26.44 1 шт.
Артикул (ID): CC-09843
Втулка резиновая 2507590000
  • 0.88 1 шт.
Артикул (ID): CC-09487
Риббон Ricoh B110C 75мм х 300м OUT втулка 1" диаметр рулона 67мм 4294920000 6F13208
  • 359.7 1 шт.
Артикул (ID): CC-06440
Втулки 30х45х32х11.5х3.5
  • 11.12 1 шт.
Артикул (ID): ZQ-2979
Втулки 4х8х6х14х2 проходная черная, резина EPDM, Ruichi.
  • 6.71 1 шт.
  • 6.71 от 10 шт.
  • 6.71 от 100 шт.
Артикул (ID): ZQ-2976
Втулки 5,5х10х8х30х3 проходная черная, резина EPDM, Ruichi.
Артикул (ID): ZQ-2978
Втулки 5х11х11х8х19х2 проходная белая, резина EPDM, Ruichi.
  • 4.68 1 шт.
  • 4.68 от 10 шт.
  • 4.68 от 100 шт.
Артикул (ID): ZQ-2972
Втулки 7,5х11х9х23х3,5 проходная черная, резина EPDM, Ruichi.
  • 6.71 1 шт.
  • 6.71 от 10 шт.
  • 6.71 от 100 шт.
Артикул (ID): ZQ-2980
Втулки 4х10х10х6х16х1,5 проходная черная, резина EPDM, Ruichi.
  • 5.07 1 шт.
  • 5.07 от 10 шт.
  • 5.07 от 100 шт.
Артикул (ID): ZQ-2977
Втулки 5х11х11х8х19х2 проходная черная, резина EPDM, Ruichi.
  • 5.25 1 шт.
  • 5.25 от 10 шт.
  • 5.25 от 100 шт.
Артикул (ID): ZQ-2975
Втулки 5,5х10х8х18х2,5 проходная черная, резина EPDM, Ruichi.
Артикул (ID): ZQ-2974
Втулки 6,5х12х12х10х19х2 проходная черная, резина EPDM, Ruichi.
  • 6.96 1 шт.
  • 6.96 от 10 шт.
  • 6.96 от 100 шт.
Артикул (ID): ZQ-2973
Втулки 7х13х13х10х17х4 проходная черная, резина EPDM, Ruichi.
  • 8.06 1 шт.
  • 8.06 от 10 шт.
  • 8.06 от 100 шт.

Недавно просмотренные товары

Принимаем к оплате
IP Electron в соцсетях