67 076 товаров в наличии и на заказ

Электронные компоненты и расходные материалы

$
Настройка отображения валюты
Полный каталог
Скидка на Устройства защиты
-20%

АЗФ1К-30 30A(Ампер) 200VAC(Вольт) Автоматический выключатель, 2001г (арт. TM-2091)

Алатырский завод «Электроавтомат», г. Алатырь; 200 VAC; 400 Hz

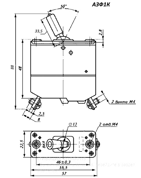
АЗФ1К-30 30А Автоматический выключатель. Структура условного обозначения: АЗ - автомат защиты; Ф - для однофазных сетей переменного тока; 1 - количество полюсов: однополюсный; К - модификация автомата защиты сети: с индексом «К» устанавливаются в кабинах с красным освещением, без индекса «К» - для работы в кабинах с обычным освещением; 30 - цифра, определяющая величину номинального тока, А. Автомат защиты сети однофазного переменного тока предназначен для защиты электрооборудования от недопустимых по величине и времени протекания токовых перегрузок и токов короткого замыкания. Одновременно автоматы являются однополюсными выключателями. Вся дополнительная информация находится во вложении на товар, см. pdf - файл.

Подробнее
Заметили
ошибку ?
Сообщите нам

Общая информация

Наименование АЗФ1К-30 30A(Ампер) 200VAC(Вольт) Автоматический выключатель, 2001г
Торговая марка Алатырский завод «Электроавтомат», г. Алатырь
Страна изготовления РОССИЯ
Дата изготовленияi дата не указана
Нормы и требования 8Ю0.361.014 ТУ
Вид приемки i "1"- ОТК
Масса изделия, гр 120
Наличие паспорта - этикетки этикетка
Транслитерация AZF1K-30 30A(Ampere) 200VAC(Volt) Circuit breaker, 2001
Вид упаковки картонная коробка
Состояние упаковки заводская

Основные параметры

Функциональная группа Устройства защиты
Функциональный тип автоматические выключатели
Серия автоматических выключателей АЗФ1К
Число полюсов однополюсный
Количество положений 2
Наличие фиксации есть
Наличие перезапуска ручной
Наличие индикации (цвет) нет
Вид толкателя рычаг
Материал ручки(кнопки)-толкателя металл
Материал корпуса карболит
Габаритные размеры L*W*H 57х22,5х88 mm
Длина корпуса 57 mm
Ширина корпуса 22,5 mm
Высота корпуса 50 mm
Метод монтажа механический на панель
Метод монтажа электрический винт
Цвет корпуса коричневый
Материал выводов латунь
Вид выводов винтовые
Покрытие выводов (Ni) никель
Количество выводов 2
Расстояние между выводами 47 mm
Установочные размеры 55,5 mm расстояние между монтажными отверстиями
Рабочее положение любое
Фактическая маркировка АЗФ1К-30

Технические характеристики

Номинальный ток 30 A
Номинальное напряжение 200 VAC
Тип расцепителя тепловой
Номинальная частота 400 Hz
Род тока однофазный переменный
Время срабатывания 30 min

Условия эксплуатации

Степень защиты IPi IP30, IP00
Минимальная наработка 2000 час.
Ресурс 10000 циклов
Климатическое исполнениеi УХЛ3
Интервал рабочих температур от -60 до +60°С
Относительная влажность 98% при температуре +40°С
Минимальный срок сохраняемости, лет 8

Функциональные аналоги

АЗФ1К-40 40A(Ампер) 200VAC(Вольт) Автоматический выключатель, 2001г, фото
Артикул (ID): TM-2090
АЗФ1К-40 40A(Ампер) 200VAC(Вольт) Автоматический выключатель, 2001г
  • 855 1 шт.
  • 801 от 5 шт.
АЗФ1-30 30А Алатырский завод "Электроавтомат", фото
АЗФ1-30 30А Алатырский завод "Электроавтомат"
АЗФ1-40 40А Алатырский завод "Электроавтомат", фото
АЗФ1-40 40А Алатырский завод "Электроавтомат"

Возможные аналоги

АЗФ-МК 30А Алатырский завод "Электроавтомат", фото
АЗФ-МК 30А Алатырский завод "Электроавтомат"
АЗФ-М 30А Алатырский завод "Электроавтомат", фото
АЗФ-М 30А Алатырский завод "Электроавтомат"
АЗФ-МК 40А Алатырский завод "Электроавтомат", фото
АЗФ-МК 40А Алатырский завод "Электроавтомат"
АЗФ-М 40А Алатырский завод "Электроавтомат", фото
АЗФ-М 40А Алатырский завод "Электроавтомат"

Оставить отзыв

Оценка:
              
Преимущества *
Недостатки *
Комментарий *
Ваше Имя *
Эл. почта *
Введите текст с картинки:
* Поля для обязательного заполнения
Отзыв будет опубликован после проверки модератором
Принимаем заказы на товары,
не вошедшие в каталог

Пришлите маркировку необходимого вам товара.
Мы предоставим Вам наилучшие условия по поставке!

Оформить заявку

Похожие товары

Артикул (ID): TN-7025
АЗС-25 25A(Ампер) 27V(Вольт) Автоматический выключатель
  • 1935 1 шт.
  • 1791 от 5 шт.
Артикул (ID): TN-3650
АЗ3К-10 10A(Ампер) 200VAC(Вольт) Автоматический выключатель
  • 1688 1 шт.
Артикул (ID): TN-3654
АЗ3К-10 10A(Ампер) 200VAC(Вольт) Автоматический выключатель.
  • 1688 1 шт.
Артикул (ID): TM-2090
АЗФ1К-40 40A(Ампер) 200VAC(Вольт) Автоматический выключатель, 2001г
  • 855 1 шт.
  • 801 от 5 шт.
Артикул (ID): ZP-5600
ADB3-63 3P 40A(Ампер) 230VAC(Вольт) 6kA х-ка C Автоматический выключатель
  • 458.7 1 шт.
  • 458.7 от 10 шт.
Артикул (ID): ZP-5601
ADB3-63 3P 50A(Ампер) 230VAC(Вольт) 6kA х-ка C Автоматический выключатель
  • 504.84 1 шт.
  • 504.84 от 10 шт.
Артикул (ID): ZP-5602
ADB3-63 3P 63A(Ампер) 230VAC(Вольт) 6kA х-ка C Автоматический выключатель
  • 504.84 1 шт.
  • 504.84 от 10 шт.
Артикул (ID): ZP-7213
ВА47-29 1Р 3A(Ампер) 230VAC(Вольт) 4,5кА х-ка С Автоматический выключатель
  • 204.47 1 шт.
Артикул (ID): ZP-7281
ВА47-29 1Р 40A(Ампер) 230VAC(Вольт) 4,5кА х-ка С Автоматический выключатель
  • 171.41 1 шт.
  • 171.41 от 10 шт.
Артикул (ID): ZP-7175
ВА47-29 1Р 63A(Ампер) 230VAC(Вольт) 4,5кА х-ка С Автоматический выключатель
  • 153 1 шт.
  • 153 от 10 шт.
Артикул (ID): ZX-2654
АЗК1М-2-2С 2A(Ампер) 27VDC(Вольт) 115VAC(Вольт) Автоматический выключатель.
  • 11858.4 1 шт.
Артикул (ID): KL-6235
Уценка АЗС-20 20A(Ампер) 27V(Вольт) Автоматический выключатель, ТУ 16-526.015-73
  • 932 1 шт.
Артикул (ID): KL-6775
АЗС-5 5А 28В Автоматический выключатель ТУ 16-526.015-73
Артикул (ID): KK-17085
АЗК1М-2-2С|карб.||2022||"пятиугольник"
  • 5100 1 шт.
Артикул (ID): ZK-279
A-0709R 15a Автоматический выключатель
  • 31.17 1 шт.
  • 31.17 от 10 шт.
  • 31.17 от 100 шт.

Недавно просмотренные товары

Принимаем к оплате
IP Electron в соцсетях