74 082 товаров в наличии и на заказ

Электронные компоненты и расходные материалы

$
Настройка отображения валюты
Полный каталог
Скидка на Конденсаторы
-20%

Р-63 1kA(Килоампер) 300V(Вольт) Разрядник неуправляемый."1" (арт. KT-331)

Р-63 1kA 300V Защитный неуправляемый разрядник. Структура условного обозначения: Р - неуправляемый разрядник; 63 - номер разработки; 1kA - импульсный ток разряда; 300V – статическое напряжение пробоя. Разрядник Р-63 предназначен для защиты линий и аппаратуры связи, а также других радиотехнических устройств от импульсных перенапряжений и токов. Выпускается в металлокерамическом исполнении с наружными выводами электродов. Рабочее положение разрядника - любое. Охлаждение - естественное. Вся дополнительная информация находится во вложении на товар, см. pdf - файл.

Подробнее
Заметили
ошибку ?
Сообщите нам

Общая информация

Наименование Р-63 1kA(Килоампер) 300V(Вольт) Разрядник неуправляемый."1"
Торговая марка АО Электронные приборы, Рязань
Дата изготовленияi 1976-1991
Страна изготовления СССР
Нормы и требования ОД0.339.239ТУ
Вид приемки i "1"- ОТК
Масса изделия, гр 33,6
Транслитерация R-63 1kA(Kiloampere) 300V(Volt) Uncontrolled arrester
Наличие паспорта - этикетки нет
Вид упаковки полиэт. пакет (1шт)
Состояние упаковки самоупаковка

Основные параметры

Функциональная группа Устройства защиты
Функциональный тип Разрядники
Серия разрядников Р
Тип разрядника газовый
Конструктивное исполнение разрядника выводной
Метод монтажа механический за фланец
Метод монтажа электрический пайка
Количество выводов 2
Тип вывода жесткий
Материал выводов латунь
Цвет корпуса розовый
Материал корпуса металлокерамика
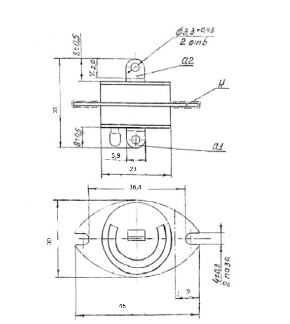
Размеры корпуса L*W*H 46х30 mm
Покрытие корпуса без покрытия
Габаритные размеры L*W*H 46х30х30 mm
Фактическая маркировка Р-63

Технические характеристики

Импульсный ток разряда 1 kA
Напряжение пробоя 300 V
Сопротивление изоляции, min 500 MΩ
Межэлектродная емкость max 10 pF
Ток разряда для переменного напряжения 1 A
Напряжение пробоя динамическое 200-300V при скорости нарастания напряжения на электродах 100кВ/с

Условия эксплуатации

Интервал рабочих температур от -60 до +125°C
Ресурс 200 импульсов (min)
Климатическое исполнениеi УХЛ
Загрузка...
Принимаем заказы на товары,
не вошедшие в каталог

Пришлите маркировку необходимого вам товара.
Мы предоставим Вам наилучшие условия по поставке!

Оформить заявку

Недавно просмотренные товары

Принимаем к оплате
IP Electron в соцсетях