74 082 товаров в наличии и на заказ

Электронные компоненты и расходные материалы

$
Настройка отображения валюты
Полный каталог
Скидка на Конденсаторы
-20%

Р-155 10kA(Килоампер) 410V(Вольт) Разрядник двухэлектродный (арт. ZA-579)

ОАО НИИ ГРП «Плазма»; газовый; выводной

Р-155 10kA 410V нерезонансный неуправляемый двухэлектродный защитный. Структура условного обозначения: Р - неуправляемый разрядник; 155 - номер разработки; 10kA - импульсный ток разряда; 5000V – статическое напряжение пробоя. Предназначен для защиты одной цепи или жилы кабеля. от опасных перенапряжений, возникающих в результате грозовых разрядов, электромагнитных излучений, случайных контактов с силовыми линиями. Рабочее положение разрядника - любое. Охлаждение - естественное. Вся дополнительная информация находится во вложении на товар, см. pdf - файл.

Подробнее
Заметили
ошибку ?
Сообщите нам

Общая информация

Наименование Р-155 10kA(Килоампер) 410V(Вольт) Разрядник двухэлектродный
Торговая марка ОАО НИИ ГРП «Плазма»
Дата изготовленияi дата не указана
Страна изготовления РОССИЯ
Нормы и требования ОД0.339.216ТУ
Вид приемки i "5"- ВП, ПЗ
Масса изделия, гр 1,5
Транслитерация R-155 10kA(Kiloampere) 410V(Volt) Two-electrode arrester
Наличие паспорта - этикетки нет
Вид упаковки картонная коробка (1шт)
Состояние упаковки заводская

Основные параметры

Функциональная группа Устройства защиты
Функциональный тип Разрядники
Серия разрядников Р
Тип разрядника газовый
Конструктивное исполнение разрядника выводной
Метод монтажа механический в плату
Метод монтажа электрический пайка
Количество выводов 2
Тип вывода аксиальный
Материал выводов латунь
Покрытие выводов никель (Ni)
Цвет корпуса розовый
Материал корпуса металлокерамика
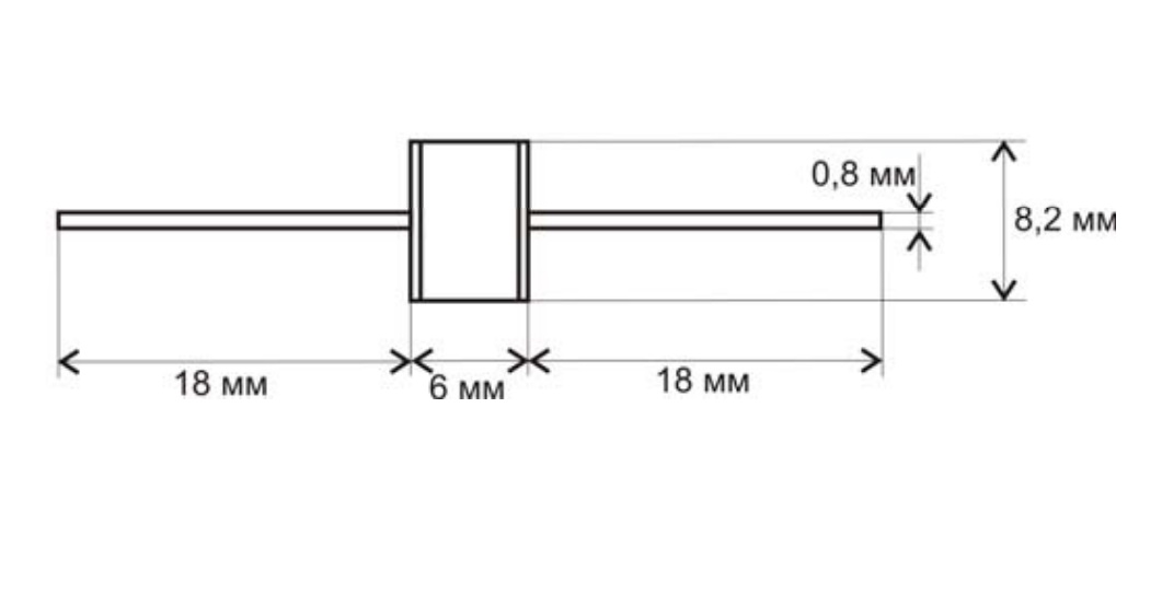
Размеры корпуса L*W*H 6х8,2 mm
Покрытие корпуса без покрытия
Габаритные размеры L*W*H 8,2х42 mm
Фактическая маркировка Р-155

Технические характеристики

Импульсный ток разряда 10 kA
Напряжение пробоя 410 V
Сопротивление изоляции, min 500 MΩ
Межэлектродная емкость max 10 pF
Ток разряда для переменного напряжения 10 A

Условия эксплуатации

Интервал рабочих температур от -60 до +125°C
Минимальная наработка 500 час.
Ресурс 20 импульсов (min)
Загрузка...
Принимаем заказы на товары,
не вошедшие в каталог

Пришлите маркировку необходимого вам товара.
Мы предоставим Вам наилучшие условия по поставке!

Оформить заявку

Недавно просмотренные товары

Принимаем к оплате
IP Electron в соцсетях