73 896 товаров в наличии и на заказ

Электронные компоненты и расходные материалы

$
Настройка отображения валюты
Полный каталог
Скидка на Конденсаторы
-20%

Заглушка кабельная ЭК-22 для СНЦ23 металл, с цепочкой, НКЦС.434410.112ТУ (арт. KT-4204)

ИСЕТЬ, Каменск-Уральский; без резьбы; отсутствует; СНЦ22, СНЦ23, СНЦ27, СНЦ28, СНЦ29, СНЦ233...; -; заглушка, крышка для разъемов...

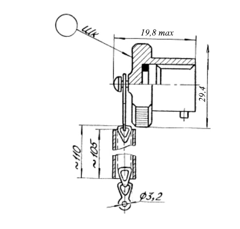
Заглушка кабельная ЭК-22 металл, с цепочкой - для соединителей с байонетной фиксацией сочлененного положения: СНЦ23, СНЦ22, СНЦ233. Структура условного обозначения: ЭК -  вид заглушки (эксплуатационная заглушка для кабельной части); 22 – условный размер корпуса. Заглушка ЭК-22 предназначена для защиты контактной части соединителя от механических воздействий, попадания мусора, пыли и посторонних предметов при хранении, транспортировке и в иных условиях. Вся дополнительная информация находится во вложении на товар, см. pdf - файл.

Подробнее
Заметили
ошибку ?
Сообщите нам

Общая информация

Наименование Заглушка кабельная ЭК-22 для СНЦ23 металл, с цепочкой, НКЦС.434410.112ТУ
Страна изготовления РОССИЯ
Торговая марка ИСЕТЬ, Каменск-Уральский
Нормы и требования НКЦС.434410.112ТУ
Дата изготовленияi 2010-2019
Вид приемки i "1"- ОТК
Масса изделия, гр 12,5
Состояние упаковки самоупаковка
Транслитерация Cable plug EK-22 for SNC-23 metal, with chain, NKTsS.434410.112TU

Основные параметры

Функциональная группа Аксессуары для цилиндрических разъемов
Функциональный тип Заглушка разъемная
Серия заглушек ЭК-22
Исполнение заглушек Исполнение 3 (с цепочкой)
Типономинал / Типоконструкция заглушка кабельная
Условный размер корпуса 22
Диаметр установочного отверстия d = 22 mm
Метод сочленения байонетный
Вид резьбы отсутствует
Размер резьбы без резьбы
Взаимосочленение СНЦ22, СНЦ23, СНЦ27, СНЦ28, СНЦ29, СНЦ233...
Габаритные размеры L*W*H 29,4х19,8 mm
Диаметр корпуса 29,4 mm
Высота корпуса 19,8 mm
Материал корпуса алюминиевый сплав
Покрытие корпуса анодирование
Цвет корпуса светло-серый
Фактическая маркировка ЭК-22
Наличие паспорта - этикетки этикетка
Рабочее положение любое
Другие наименования заглушка, крышка для разъемов...

Условия эксплуатации

Макс. срок хранения 25 лет

Оставить отзыв

Оценка:
              
Преимущества *
Недостатки *
Комментарий *
Ваше Имя *
Эл. почта *
Введите текст с картинки:
* Поля для обязательного заполнения
Отзыв будет опубликован после проверки модератором
Принимаем заказы на товары,
не вошедшие в каталог

Пришлите маркировку необходимого вам товара.
Мы предоставим Вам наилучшие условия по поставке!

Оформить заявку

Похожие товары

Артикул (ID): TN-1873
Заглушка блочная ЭП2РМТ-36-1 для 2РМ(Д)Т36 металл, с цепочкой, АШДК.434410.062ТУ
Артикул (ID): TN-5129
Заглушка блочная РЗМ14х0,75 для РС10 пластик, ГОСТ 25930-83
Артикул (ID): TN-5152
Заглушка кабельная Ф58.632.023-02 для РС10 металл, АШДК.434410.059ТУ.
  • 181 1 шт.
  • 167 от 10 шт.
  • 138 от 50 шт.
Артикул (ID): ZA-1682
Заглушка блочная ЭП2РМТ-45-1 для 2РМ(Д)Т45 металл, с цепочкой, АШДК.434410.062ТУ.
Артикул (ID): TN-1907
Заглушка блочная М33х1,5 для 2РМ(Т)30/ШР28 фенопласт
Артикул (ID): KT-4207
Заглушка блочная ЭП-27 для СНЦ23 металл, с цепочкой, НКЦС.434410.112ТУ
  • 3960 1 шт.
Артикул (ID): KT-4258
Заглушка блочная ЭП-ОНЦ-14 для ОНЦ-БС-14 металл, с цепочкой, АШДК.434410.088ТУ
Артикул (ID): TB-7083
Заглушка блочная ЭП-ОНЦ-10 для ОНЦ-БС-10 металл, с цепочкой, АШДК.434410.088ТУ
  • 4500 1 шт.
Артикул (ID): ZZ-7133
FQ30-T-LID
  • 92.04 1 шт.
  • 92.04 от 10 шт.
  • 92.04 от 100 шт.
Артикул (ID): ZZ-7136
FQ14-T-LID
  • 81.14 1 шт.
  • 81.14 от 10 шт.
Артикул (ID): TB-7210
Заглушка блочная РЗМ16х1,0 для 2РМ(Д)Т14 пластик
  • 67 1 шт.
Артикул (ID): TB-9930
Заглушка блочная ЭП-ОНЦ-12 для ОНЦ-БС-12 металл, с цепочкой, АШДК.434410.088ТУ
  • 3500 1 шт.
Артикул (ID): ZZ-7137
FQ30-Z-LID
  • 135.42 1 шт.
  • 135.42 от 10 шт.
Артикул (ID): CC-12555
Заглушка FQ14 кабельной части
  • 111.65 1 шт.
Артикул (ID): CC-12560
Заглушка FQ18 кабельной части
  • 95.64 1 шт.

Недавно просмотренные товары

Принимаем к оплате
IP Electron в соцсетях