74 052 товаров в наличии и на заказ

Электронные компоненты и расходные материалы

$
Настройка отображения валюты
Полный каталог
Скидка на Конденсаторы
-20%

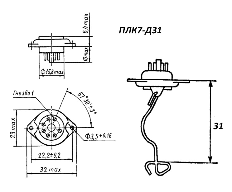
ПЛК7-Д31 Панель ламповая; (арт. SN-8366)

Панель ПЛК7-Д31 - с прижимной пружиной 31 мм. Предназначена для вставления электровакуумных приборов в радиоэлектронной аппаратуре. Д - для неэкранирующего ламподержателя. Вся дополнительная информация находится во вложении на товар, см. pdf - файл.

Подробнее
Заметили
ошибку ?
Сообщите нам

Общая информация

Наименование ПЛК7-Д31 Панель ламповая;
Торговая марка АООТ Псковский з-д радиодеталей
Страна происхождения СССР
Дата выпуска 1978
Вид приемки i "5"- ВП, ПЗ
ТУ ОЖ 4.812.003 ТУ
Масса изделия, гр 8,6
Вид упаковки картонная коробка
Состояние упаковки самоупаковка
Доупаковка бумага
Транслитерация Panel lamp PLK7-D31

Основные параметры

Типономинал / Типоконструкция 7 контактный
Конструктивные особенности бескорпусный
Комплектность с прижимом для установки в сборе
Материал вставки (изолятора) керамика
Метод монтажа навесной
Цвет изделия белый
Габаритные размеры L*W*H 47х31 mm
Высота корпуса 9
Диаметр корпуса 19
Минимальный срок сохраняемости, лет 11

Технические характеристики

Рабочее напряжение 250
Сопротивление изоляции 1 000
Сопротивление контактов не более 0,01

Условия эксплуатации

Атмосферное давление от 106700 до 27198 Pa
Интервал рабочих температур -60
Относительная влажность 98% при температуре +40°С
Примечание (1977-1978гг.)
Загрузка...
Принимаем заказы на товары,
не вошедшие в каталог

Пришлите маркировку необходимого вам товара.
Мы предоставим Вам наилучшие условия по поставке!

Оформить заявку

Недавно просмотренные товары

Принимаем к оплате
IP Electron в соцсетях